Напольный газовый котел Altair B
Документация на котел
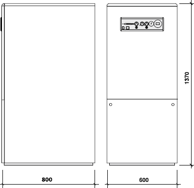
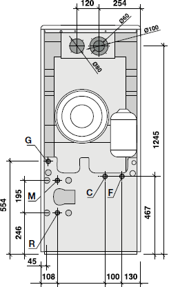
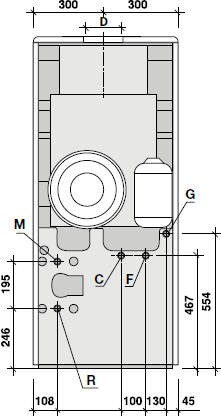
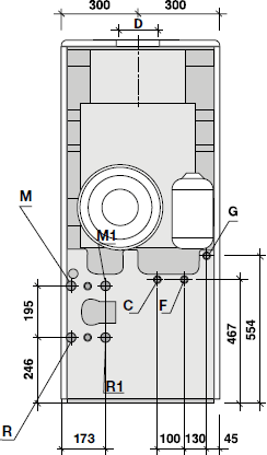
Габаритные размеры

Габаритные размеры, мм


Модель BTFSE Модель BTNE

Модель BTFSE V Модель BTNE V
| Котел |
M |
R |
M1 |
R1 |
С |
F |
G |
D (mm) |
| BTNE 25/BTNE V 25 |
G 1 |
G 1 |
G 1 |
G 1 |
G 3/4 |
G 3/4 |
G 1/2 |
130 |
| BTNE 32/BTNE V 32 |
G 1 |
G 1 |
G 1 |
G 1 |
G 3/4 |
G 3/4 |
G 1/2 |
150 |
| BTNE 42/BTNE V 42 |
G 1 |
G 1 |
G 1 |
G 1 |
G 3/4 |
G 3/4 |
G 1/2 |
150 |
| BTFSE 24/BTFSE V 24 |
G 1 |
G 1 |
G 1 |
G 1 |
G 3/4 |
G 3/4 |
G 1/2 |
- |
| BTFSE 32/BTFSE V 32 |
G 1 |
G 1 |
G 1 |
G 1 |
G 3/4 |
G 3/4 |
G 1/2 |
- |
| BTFSE 36/BTFSE V 36 |
G 1 |
G 1 |
G 1 |
G 1 |
G 3/4 |
G 3/4 |
G 1/2 |
- |
Гидравлическая схема котла Altair BTNE — Altair BTFSE


S1: датчик контура отопления, TS: ограничительный термостат, V3V: трехходовой электроклапан, VM: двухходовой электроклапан, PR: насос контура отопления с воздухоудалителем, PS: насос контура ГВС, F: приоритетное реле протока, SE: датчик наружной температуры (доп. комплектация), VMI: смесительный клапан, TS1: предохранительный термостат низкотемпературного контура